| ITEM NO. |
PART NO. |
DESCRIPTION |
QTY |
AMEND |
|
| |
|
|
|
|
| 01 |
GI5500380L |
ENGINE ASSY. |
1 |
←616326 |
| 01A |
GI5500480U |
ENGINE ASSY. |
1 |
616327→ |
|
|
|
|
|
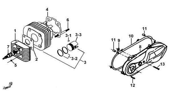
| 2. CYLINDER AND
CRANK CASE COVER |
|
|
|
|
|
| 01 |
GA504AL01 |
HEAD, CYLINDER |
1 |
|
| 02 |
GA504PK01 |
GASKET, CYLINDER
HEAD |
1 |
|
| 03 |
GA5049911 |
CYLINDER SET, WITH PISTON, PISTON RING AND CIRCLIP |
1 |
|
| 03-1 |
GA505SR01 |
CIRCLIP ∮11 |
2 |
|
| 03-2 |
GA5059905 |
RING SET, PISTON |
1 |
|
| 03-3 |
423046 |
PISTON |
1 |
|
| 04 |
GA504PK02 |
GASKET, CYLINDER |
1 |
|
| 05 |
GA504NT01 |
NUT, FLANGE M6 |
4 |
|
| 06 |
GA504SC01 |
STUD M6X100 |
4 |
|
| 07 |
GI5010005 |
SPARK
PLUG BPR7HS |
1 |
|
| 08 |
GE501AL15 |
COVER, CLUTCH |
1 |
|
| 09 |
GA504PK11 |
WASHER |
1 |
|
| 10 |
GE501PK10 |
GASKET, CLUTCH |
1 |
|
| 11 |
GA504PN01 |
PIN, KNOCK
8.5x11x18 |
2 |
|
| 12 |
S70610 |
SCREW, SOCKET
HEAD M6x25 |
6 |
|
| 13 |
S70611 |
SCREW, SOCKET
HEAD M6x50 |
1 |
|
|
|
|
|
|
|
|
|
|
|
|
|
| 01 |
GE5020003 |
CRANK CASE COMP. |
1 |
←621749 |
| 01-1 |
GL502BR01YT |
BEARING 17X35X10 |
2 |
|
| 01-2 |
GA5049904 |
BUSH COMP. |
1 |
|
| 01-3 |
GA504PN01 |
PIN, KNOCK
8.5x11x18 |
2 |
|
| 01A |
422060 |
CRANK CASE COMP. |
1 |
621750→ |
| 02 |
S79601 |
SCREW, SOCKET
HEAD M6x20 |
3 |
|
| 03 |
S79401 |
SCREW, SOCKET
HEAD M4x20 |
2 |
|
| 04 |
S71603 |
BOLT, BREAKABLE,
HEX. HEAD M6X16 |
1 |
|
| 05 |
422038 |
CLIP |
2 |
|
| 06 |
GA501SR01 |
CLAMP |
1 |
|
| 07 |
S70602 |
SCREW, HEX.
SCCKET M6X1.0X25L |
2 |
|
| 08 |
GA504PN02 |
PIN, DOWEL
6.5x9x10 |
2 |
|
| 09 |
GA504BS01 |
BUSH |
1 |
|
| 10 |
GA6029905 |
CAP SET,
STARTER IDLE GEAR |
1 |
|
| 11 |
421008 |
GASKET, INTAKE
PIPE |
1 |
|
| 12 |
421001A |
PIPE ASSY.,
INTAKE |
1 |
|
| 12-1 |
GA605PP02 |
HOSE OIL |
1 |
633218→ |
| 12-2 |
GA5049909 |
VALVE ASSY.,
NON-RETURN |
1 |
633218→ |
| 12-3 |
R36501 |
CLIP |
2 |
633218→ |
| 13 |
S70602 |
SCREW, HEX.
SCCKET M6X1.0X25L |
5 |
|
| 14 |
GA904SC12 |
BOLT, FLANGE
M6X12 |
1 |
|
| 15 |
GA504WS02 |
WASHER |
1 |
|
| 16 |
GA504SC12 |
BOLT, FLANGE 8X12 |
1 |
|
| 17 |
S70603 |
SCREW, SOCKET
HEAD M6x30 |
1 |
|
| 18 |
GA602AL07 |
COVER, GEAR BOX |
1 |
|
| 19 |
GA504PK05 |
GASKET, GEAR BOX
COVER |
1 |
|
| 20 |
GA5049907 |
VALVE ASSY., REED |
1 |
|
| 21 |
GA504PN03 |
PIN, BRAKE SHOE |
1 |
|
| 22 |
GA504WS04 |
WASHER, SPRING |
1 |
|
| 23 |
GA557SC15 |
BOLT, HEX. HEAD
M6X10 |
1 |
|
| 24 |
GA557PS01 |
BRKT, REAR BRAKE |
1 |
|
| 25 |
GA504PN01 |
PIN, KNOCK
8.5x11x18 |
2 |
|
| 26 |
W99601 |
WASHER 6X12X2 |
1 |
|
| 27 |
S70606 |
SCREW, SOCKET
HEAD M6x75 |
1 |
|
| 28 |
S70605 |
SCREW, SOCKET
HEAD M6x85 |
1 |
|
| 29 |
S70601 |
SCREW, SOCKET
HEAD M6X45 |
3 |
|
| 30 |
421002 |
RUBBER TUBE |
1 |
|
|
|
|
|
|
| 4. CRANK SHAFT |
|
|
|
|
|
| 01 |
GA505OS03 |
SEAL, OIL 24X43X6 |
1 |
|
| 02 |
GA505PN01 |
PIN, PISTON |
1 |
|
| 03 |
GA505FE05 |
GEAR, STARTER |
1 |
|
| 04 |
GA505OS02 |
OIL SEAL, LH.
25X37X6 |
1 |
|
| 05 |
GA505BR01A |
BEARING, PISTON
PIN 10X14X12.5 |
1 |
|
| 06 |
GA5050006 |
CRANK SHAFT ASSY. |
1 |
|
| 06-1 |
GA505BS01 |
SPACER 18X24X14 |
1 |
|
| 07 |
GA505OS01 |
OIL SEAL, RH.
17X27X6 |
1 |
|
| 08 |
GA505BR03 |
BEARING, RH.
20X47X14 |
1 |
|
| 09 |
GA505BR04 |
BEARING, LH.
25X52X13 |
1 |
|
|
|
| 5. CARBURETOR
(VM 13) |
|
|
|
|
|
|
| 01 |
424026A |
CARBURETOR ASSY. |
1 |
|
| 01-1 |
GA5089905 |
ELEMENT ASSY.,
THERMO |
1 |
|
| 01-10 |
GA508CU13 |
IDLE JET |
1 |
|
| 01-11 |
424014 |
MAIN NOZZLE |
1 |
|
| 01-12 |
GA508CU01 |
MAIN
JET M.J.60 |
1 |
|
| 01-13 |
425016 |
OIL CHECK VALVE B (LINEAR TYPE) |
1 |
|
| 01-14 |
424018 |
CARBURETTOR DRAIN
TUBE |
1 |
|
| 01-15 |
424031 |
GASKET SET |
1 |
|
| 01-16 |
424043 |
CHAMBER SET,
FLOAT |
1 |
|
| 01-2 |
GA508AL01 |
NEEDLE, JET |
1 |
|
| 01-3 |
GA508FE05 |
VALVE, NEEDLE |
1 |
|
| 01-4 |
GA5089907 |
SCREW SET, AIR |
1 |
|
| 01-5 |
GA5089908 |
SCREW SET, IDLE
SPEED |
1 |
|
| 01-6 |
GA508PL10 |
FLOAT |
1 |
|
| 01-7 |
424080 |
SPRING |
1 |
|
| 01-8 |
424012 |
SNAP RING C TYPE |
1 |
|
| 01-9 |
424013 |
VALVE, THROTTLE |
1 |
|
| 02 |
424000 |
FENDER,
CARBURETOR |
1 |
|
| 03 |
424048 |
CLAMP |
1 |
|
|
|
|
|
|
|
|
|
|
|
|
|
| 01 |
425037 |
PUMP ASSY., OIL |
1 |
←621749 |
| 01A |
425051 |
PUMP ASSY., OIL |
1 |
621750→ |
| 02 |
GA508PL01 |
GEAR, OIL PUMP
DRIVEN |
1 |
|
| 03 |
GA508PK02 |
GASKET, OIL PUMP |
1 |
←621749 |
| 03A |
GA508PK01 |
GASKET, OIL PUMP |
1 |
621750→ |
| 04 |
S79501 |
SCREW, SOCKET
HEAD M5x16 |
2 |
|
| 05 |
GA605PP02 |
HOSE OIL |
1 |
|
| 06 |
R36501 |
CLIP |
2 |
|
| 07 |
425038 |
THREE WAY CHECK
VALVE ASSY. |
1 |
←633217 |
|
|
|
|
|
| 7. CVT (CONTINUOUS VARIABLE TRANSMISSION) |
|
|
|
|
|
|
|
| 01 |
GA906AL01 |
FACE, FIXED DRIVE |
1 |
←584280 |
| 01A |
GA906AL01A |
FACE, FIXED DRIVE |
1 |
584281→ |
| 02 |
GA906FE01 |
HOLDER, KICK DRN
GEAR SPRING |
1 |
←584280 |
| 02A |
GA906FE01A |
HOLDER, KICK DRN
GEAR SPRING |
1 |
584281→ |
| 03 |
GA506WS02 |
WASHER |
1 |
|
| 04 |
GA506SP01 |
SPRING 30.5X24.9 |
1 |
|
| 05 |
S79605 |
SCREW, SOCKET
HEAD |
3 |
|
| 06 |
GA906FE04 |
STARTER, KICK RH. |
1 |
|
| 07 |
GA5069904 |
STARTER SET, KICK
LH. |
1 |
|
| 08 |
GA501NT01 |
NUT, FLANGE M10 |
1 |
|
| 09 |
GE506RB01 |
V-BELT, DRIVE |
1 |
|
| 10 |
490048 |
PULLEY COMP.,
DRIVE |
1 |
|
| 10-1 |
490045 |
ROLLER COMP.,
MOVABLE DRIVE FACE |
6 |
|
| 10-2 |
PG289931 |
GUIDE, MOVABLE
DRIVE FACE PLATE |
3 |
|
| 10-3 |
490044 |
PLATE, FIXED
DRIVE |
1 |
|
| 10-4 |
490041 |
FACE COMP.,
DRIVE MOVABLE |
1 |
|
| 11 |
A02806FE01 |
SPACER |
1 |
|
| 12 |
490291 |
PULLEY COMP.,
DRIVEN |
1 |
|
| 12-1 |
PG289933 |
HOUSING COMP.,
CLUTCH |
1 |
|
| 12-2 |
490051 |
PULLEY ASSY.,
DRIVEN |
1 |
|
| 12-2-1 |
PT506SP02 |
SPRING, MOVABLE
DRIVEN FACE |
1 |
|
| 12-2-2 |
490498 |
CLUTCH ASSY.,
SHOE |
1 |
|
| 12-2-3 |
A02806NT01 |
NUT, HEX. M28 |
1 |
|
| 12-2-4 |
490385 |
BEARING |
1 |
|
| 12-2-5 |
A02806SR01 |
CIR-CLIP |
1 |
|
| 12-2-6 |
490384 |
NEEDLE BEARING |
1 |
|
| 13 |
GA506BS02 |
SPACER 2.5 |
1 |
←594395 |
| 13A |
428004 |
SPACER 3.8 |
1 |
614425~616326 |
| 13B |
428000 |
SPACER 6.0 |
1 |
616327→ |
|
|
|
|
|
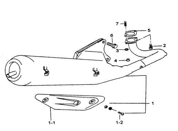
| 8. MUFFLER |
|
|
|
|
|
|
| 01 |
426007 |
BODY COMP., MUFFLER |
1 |
←616326 |
| 01-1 |
GL507FE05 |
COVER, MUFFLER |
1 |
|
| 01-2 |
GI5079902 |
SCREW, SET
MUFFLER COVER |
2 |
|
| 02 |
GA509SC05 |
BOLT, FLANGE
M6X20 |
1 |
|
| 03 |
GA504WS04 |
WASHER, SPRING |
1 |
|
| 04 |
GA509NT01 |
NUT, HEX. HEAD M6 |
1 |
|
| 05 |
GA509PK01 |
GASKET, EXHAUST
PIPE |
1 |
|
| 06 |
S21002 |
BOLT, FLANGE |
2 |
|
| 07 |
GA509SC06 |
STUD M6X25 |
1 |
|
|
|
|
|
|
| 8-1. MUFFLER (FOR EURO 2) |
|
|
|
|
|
|
|
| 01 |
426188 |
BODY COMP., MUFFLER (CATALYST) |
1 |
616327~632795 |
| 01-1 |
426189 |
BODY, MUFFLER |
1 |
616327~632795 |
| 01-1-1 |
426040 |
COVER, MUFFLER
(INSIDE) |
1 |
|
| 01-1-2 |
426041 |
COVER, MUFFLER
(OUTSIDE) |
1 |
|
| 01-1-3 |
426043 |
SPACER |
2 |
|
| 01-1-4 |
426044 |
CUSHION, MUFFLER
COVER |
2 |
|
| 01-1-5 |
W99703 |
WASHER 7X16X2 |
3 |
|
| 01-1-6 |
426042 |
SCREW SET,
MUFFLER COVER |
2 |
|
| 01-1-7 |
S45605 |
SCREW, OVAL HEAD
M6X12 |
3 |
|
| 01-1A |
426167Y |
BODY, MUFFLER |
1 |
632796→ |
| 01-2 |
426078 |
PIPE, MUFFLER |
1 |
616327~632795 |
| 01-2A |
426166Y |
PIPE, MUFFLER |
1 |
632796→ |
| 01-3 |
S96803 |
SCREW, SPECIAL |
2 |
|
| 01-4 |
426104 |
GASKET, MUFFLER |
2 |
|
| 01A |
426165YA |
BODY COMP.,
MUFFLER (FOR 45 KM/HR) |
1 |
632796→ |
| 02 |
S96601 |
SCREW, SPECIAL |
1 |
|
| 03 |
GA504WS04 |
WASHER, SPRING |
1 |
|
| 04 |
GA509NT01 |
NUT, HEX. HEAD M6 |
1 |
|
| 05 |
GA509PK01 |
GASKET, EXHAUST
PIPE |
1 |
|
| 06 |
S21002 |
BOLT, FLANGE |
2 |
|
| 07 |
GA509SC06 |
STUD M6X25 |
1 |
|
| 08 |
426080 |
HOSE, RUBBER |
1 |
|
| 09 |
R40902 |
CLIP |
4 |
|
| 10 |
426141 |
SECOND-AIR
CONTROL ASSY. |
1 |
|
| 11 |
426085 |
HOSE, RUBBER |
1 |
|
| 12 |
S70607 |
SCREW, SOCKET
HEAD M6X20 |
2 |
|
| 13 |
W99602 |
WASHER 6.5X12X1.0 |
2 |
|
|
|
|
|
|
|
|
|
|
|
|
|
| 01 |
427044 |
FAN, COOLING |
1 |
|
| 02 |
S79602 |
SCREW, SOCKET
HEAD M6x16 |
4 |
|
| 03 |
S70609 |
SCREW, SOCKET
HEAD M6x16 |
4 |
|
| 04 |
GA608PL11 |
COWLING, FAN |
1 |
|
| 05 |
427002 |
COWLING, CYLINDER |
1 |
←616326 |
| 05A |
GA6089905 |
COWLING, CYLINDER |
1 |
616327→ |
| 06 |
S71602 |
SCREW, SOCKET
HEAD M6x40 |
1 |
|
| 07 |
S71604 |
SCREW, SOCKET
HEAD M6x20 |
1 |
|
| 08 |
GA509SC02 |
SCREW, TAPPING
M6x20 |
4 |
|
| 09 |
GA509WS05 |
WASHER 6X13X6 |
4 |
|
| 10 |
GE508PL14 |
CASE, FAN |
1 |
|
| 11 |
420009 |
SPACER |
1 |
|
| 12 |
GA509SC20 |
SCREW, TAPPING |
1 |
|
| 13 |
427006 |
WASHER |
1 |
|
| 14 |
427001A |
HOT BLAST DUCT |
1 |
←616326 |
|
|
|
|
|
|
|
|
|
|
|
|
| 01 |
420001 |
AIR CLEANER ASSY. |
1 |
|
| 01-1 |
S51502 |
SCREW, TAPPING |
4 |
|
| 01-2 |
420031 |
FILTER |
1 |
|
| 01-3 |
420003 |
TUBE, OUTLET |
1 |
|
| 01-4 |
422039 |
CLAMP. ∮38 |
1 |
|
| 01-5 |
420041 |
DIVISION PLATE |
1 |
|
| 01-6 |
S50402 |
SCREW,TAPPING
M4X10 |
2 |
|
| 01-7 |
420072 |
PLUG, LEAK |
1 |
|
| 02 |
S70603 |
SCREW, SOCKET
HEAD M6x30 |
2 |
|
| 03 |
422037 |
CLIPφ32 |
2 |
|
| 04 |
421521 |
DUCT, COOLING |
1 |
|
| 05 |
420078 |
PIPE COMP.,
INTAKE (INCLUDING A/C BUSH) |
1 |
|
|
|
|
|
|
|
|
|
|
| 01 |
427509B |
SHAFT, DRIVE 12T |
1 |
←614424 |
| 01A |
427529 |
SHAFT, DRIVE 15T |
1 |
614425→ |
| 02 |
GA507BR04 |
BEARING, DRIVE
SHAFT, LH. 17x47x14 |
1 |
|
| 03 |
GA507OS01 |
OIL SEAL, DRIVE
SHAFT 17x27x5 |
1 |
|
| 04 |
GA507FE03B |
GEAR, FINAL
DRIVEN 41T |
1 |
←580005 |
| 04A |
427533 |
GEAR, FINAL
DRIVEN 41T |
1 |
580006~614424 |
| 04B |
427535 |
GEAR, FINAL
DRIVEN 35T |
1 |
614425→ |
| 05 |
GA507OS02 |
OIL SEAL, REAL
AXLE 27x40x6 |
1 |
|
| 06 |
GA507BR06 |
BEARING, GEAR
AXLE, RH. 20x47x14 |
1 |
|
| 07 |
GA507SR02 |
CIRCLIP, FINAL
DRIVEN GEAR ∮ 22 |
2 |
|
| 08 |
GL5109901B |
SHAFT COMP.,
IDLE 49TX11T |
1 |
←580005 |
| 08A |
427531 |
SHAFT COMP.,
IDLE 49T/11T |
1 |
580006~614424 |
| 08B |
427539 |
SHAFT COMP.,
IDLE 51T/10T |
1 |
614425→ |
| 09 |
GA507BR03 |
BEARING, DRIVE
SHAFT, RH. 12X32X10 |
1 |
|
| 10 |
GA507BR02 |
BEARING, IDLER,
RH. 12x32x10 |
1 |
|
| 11 |
GA507WS01 |
WASHER |
1 |
|
| 12 |
GA507WS02 |
WASHER, IDLE
SHAFT, LH. |
1 |
|
| 13 |
GA507FE04 |
RETAINER, REAR
AXLE BEARING |
1 |
|
| 14 |
GA507SC01 |
SCREW, BEARING
RETAINER M6x16 |
2 |
|
| 15 |
GE510FE02B |
SHAFT, REAR AXLE |
1 |
|
|
|
|
|
|
|
|
|
|
|
|
|
| 01 |
GA9059911 |
LEVER ASSY., KICK STARTER |
1 |
|
| 02 |
GA905SC01 |
BOLT, HEX. HEAD
M8X22 |
1 |
|
| 03 |
GA505BS05 |
BUSH, KICK
STARTER SHAFT |
1 |
|
| 04 |
GA5059910 |
SHAFT COMP.,
STARTER |
1 |
|
| 05 |
GA505SP01 |
SPRING, KICK
STARTER SHAFT |
1 |
|
| 06 |
GA5580012 |
SHOE SET, REAR
BRAKE |
1 |
|
| 07 |
GI534FE01 |
CAM, REAR BRAKE |
1 |
|
| 08 |
GI534FE02 |
LEVER, REAR BRAKE |
1 |
|
| 09 |
GA558SC05 |
BOLT, HEX. HEAD
M6x28 |
1 |
|
| 10 |
422049 |
INDICATOR BRAKE |
1 |
|
|
|
|
|
|
| 13. STARTING
MOTOR |
|
|
|
|
|
|
| 01 |
GA9029901 |
MOTOR ASSY., STARTING |
1 |
|
| 02 |
GA9029902 |
PINION GEAR ASSY. |
1 |
|
| 03 |
S70602 |
SCREW, HEX.
SCCKET M6X1.0X25L |
1 |
|
| 04 |
S70603 |
SCREW, SOCKET
HEAD M6x30 |
1 |
|
|
|
|
|
|
| 14. FLYWHEEL MAGNETO AND IGNITION COIL |
|
|
|
|
|
|
|
| 01 |
440931 |
FLYWHEEL MAGNETO ASSY. |
1 |
|
| 01-1 |
GE5139904 |
STATOR ASSY. |
1 |
|
| 01-2 |
440938 |
ROTOR ASSY. |
1 |
|
| 02 |
S79603 |
SCREW, SOCKET
HEADM6X25 |
2 |
|
| 03 |
GA501NT01 |
NUT, FLANGE M10 |
1 |
|
| 04 |
GA501KY01 |
KEY |
1 |
|
| 05 |
400543 |
C.D.I. |
1 |
←616326 |
| 05A |
GE5139902 |
C.D.I (UNLIMITED
SPEED) |
1 |
616327→ |
| 06 |
GE5139903 |
COIL ASSY.,
IGNITION |
1 |
|
| 06-1 |
GE5139906 |
COIL SET,
IGNITION |
1 |
|
| 06-2 |
GE513RB01 |
CAP SET,
SPARK PLUG |
1 |
|
| 07 |
440564 |
EARTH TERMINAL |
1 |
|
| 08 |
S70607 |
SCREW, SOCKET
HEAD M6X20 |
2 |
|
| 09 |
S79503 |
SCREW, SOCKET
HEAD |
2 |
|
|
|
|
|
|
| 15. BATTERY, HORN, RELAY, RECTIFIER |
|
|
|
|
|
|
| 01 |
GA5140001 |
RECTIFIER ASSY. |
1 |
|
| 02 |
GF5149906 |
HORN ASSY. |
1 |
|
| 03 |
440800A |
RELAY, TURN
SIGNAL |
1 |
|
| 03-1 |
440745 |
BUSH, RUBBER |
1 |
|
| 04 |
GA5100004 |
RELAY |
1 |
|
| 05 |
440816 |
BATTERY, 4AH |
1 |
|
| 06 |
GE514RB01 |
CUSHION, BATTERY |
1 |
←633551 |
| 08 |
GA510SC03 |
SCREW, HEX. HEAD
M6X16 |
1 |
|
| 09 |
400519 |
BUSH, RUBBER |
1 |
←616326 |
| 09A |
GE514RB02 |
BUSH, RUBBER |
1 |
616327→ |
| 10 |
GA510SC02 |
SCREW, HEX. HEAD
M6X12 |
1 |
|
|
|
|
|
|
| 16. WIRING HARNESS AND LOCK SET |
|
|
|
|
|
|
| 01 |
440936 |
WIRING HARNESS |
1 |
|
| 01-1 |
GF5159906 |
CASE SET, FUSE |
1 |
|
| 01-2 |
GF5159907 |
FUSE 7A |
1 |
|
| 02 |
GA510SR01 |
CLAMP |
2 |
|
| 03 |
GA510SR02 |
CLAMP L200 |
1 |
|
| 04 |
440749 |
LOCK ASSY. |
1 |
|
| 04-1 |
440774 |
LOCK SET,
STEERING |
1 |
|
| 04-1-1 |
BH115PL01 |
CAP, INDICATOR |
1 |
|
| 04-2 |
440744-S |
LOCK SET, SEAT |
1 |
|
| 04-3 |
BH1159904-S |
LOCK SET, FUEL
TANK |
1 |
|
| 05 |
S71603 |
BOLT, BREAKABLE,
HEX. HEAD M6X16 |
2 |
|
|
|
|
|
|
| 17. SPEEDOMETER |
|
|
|
|
|
| 01 |
457084 |
SPEEDOMETER ASSY. |
1 |
|
| 01-1 |
400560 |
BULB (12V, 1.7W) |
5 |
|
| 01-2 |
BH116PL01 |
COVER,
SPEEDOMETER |
1 |
|
| 02 |
GA552SC11 |
SCREW, TAPPING
M4X16 |
2 |
|
| 03 |
401865 |
CABLE ASSY.,
SPEEDOMETER |
1 |
|
| 04 |
S51501 |
SCREW,TAPPING
M5X16 |
1 |
|
| 05 |
N31501 |
NUT, SPRING M5 |
1 |
|
|
|
|
|
|
| 18. HEAD LAMP
AND FRONT TRUN SIGNAL LAMP |
|
|
|
|
|
| 01 |
450049 |
HEAD LAMP., ASSY. |
1 |
|
| 01-1 |
450052 |
COVER, LAMP |
1 |
|
| 01-2 |
450053 |
BULB |
1 |
|
| 01-3 |
450054 |
SOCKET, COMP. |
1 |
|
| 01-4 |
S43402 |
BOLT M4X0.7 |
1 |
|
| 02 |
450051 |
BRACKET |
1 |
|
| 03 |
450037 |
TURN SIGNAL LAMP
COMP., LH. FRONT |
1 |
|
| 03-1 |
GF5170006 |
BULB, 12V, R10W |
1 |
|
| 03-2 |
450044 |
LENS, TURN
SIGNAL, LH. |
1 |
|
| 04 |
450038 |
TURN SIGNAL LAMP
COMP., RH. FRONT |
1 |
|
| 04-1 |
GF5170006 |
BULB, 12V, R10W |
1 |
|
| 04-2 |
450045 |
LENS, TURN
SIGNAL, RH. |
1 |
|
| 05 |
S07501 |
BOLT,HEX HEAD |
2 |
|
|
|
|
|
|
| 19. REAR LAMP
CLUSTER |
|
|
|
|
|
| 01 |
451033 |
REAR LAMP ASSY. |
1 |
|
| 01-1 |
GF5180002 |
BULB 12V, P21/5W |
1 |
|
| 01-2 |
451034 |
LENS, REAR
COMBINATION |
1 |
|
| 01-3 |
S60401 |
SCREW,
TAPPING M4x18 |
2 |
|
| 01-4 |
BH1189901 |
WIRING HARNESS,
REAR LAMP |
1 |
|
| 02 |
W99603 |
WASHER, RUBBER |
2 |
|
| 03 |
GA554NT04 |
NUT,
FLANGE M6xP1.0 |
2 |
|
| 04 |
451024 |
TURN SIGNAL LAMP
COMP., LH. |
1 |
|
| 04-1 |
GF5170006 |
BULB, 12V, R10W |
1 |
|
| 04-2 |
451030 |
LENS, TURN SIGNAL
LAMP., LH. REAR |
1 |
|
| 05 |
451025 |
TURN, SIGNAL LAMP
COMP., RH. |
1 |
|
| 05-1 |
GF5170006 |
BULB, 12V, R10W |
1 |
|
| 05-2 |
451031 |
LENS, TURN SIGNAL
LAMP., RH. REAR |
1 |
|
| 06 |
W99005 |
WASHER |
2 |
|
| 07 |
GA551NT02 |
NUT, FLANGE
SELRLOCK M10x10 |
2 |
|
|
|
|
|
|
|
|
|
|
|
|
| 01 |
BH1190001 |
FRAME |
1 |
←615150 |
| 01A |
411970 |
FRAME |
1 |
615151→ |
| 02 |
BH1199903 |
ROCKER ARM ASSY.,
HANGER |
1 |
|
| 02-1 |
GI519RB01 |
DAMPER, RUBBER |
2 |
|
| 02-2 |
GI519SP01 |
SPRING,
COMPRESSION |
2 |
|
| 03 |
S21203 |
BOLT, HEX. HEAD |
1 |
|
| 04 |
N25201 |
NUT, SELFLOCK
M12X1.25 |
1 |
|
| 05 |
GA551PN01 |
COTTER PIN 1.5X30 |
2 |
|
| 06 |
GF519SP01 |
SPRING,
COMPRESSION 6X12.5 |
2 |
|
| 07 |
GF519AL06 |
FOOTREST ASSY.,
PILLION, RH. |
1 |
|
| 08 |
GF519AL05 |
FOOTREST ASSY.,
PILLON, LH. |
1 |
|
| 09 |
GF519FE04 |
BALL ∮6.35 |
2 |
|
| 10 |
R00701 |
RETAINER RING, C
TYPE ∮16 |
2 |
|
| 11 |
GF519FE01 |
COLLAR, PIN
6X8X20 |
2 |
|
| 12 |
GA551PN02 |
PIN 6X34 |
2 |
|
| 14 |
BH1199901 |
BRKT, FOOTREST,
PILLION, RH. |
1 |
|
| 15 |
BH1199902 |
BRKT, FOOTREST,
PILLION, LH. |
1 |
|
| 16 |
W99005 |
WASHER |
2 |
|
| 17 |
GA556NT01 |
NUT, SLOTTED |
4 |
|
| 18 |
S06101 |
BOLT, HANGER M10 |
2 |
|
| 19 |
BH1199904 |
LOCK SET, SEAT |
1 |
|
| 20 |
BH1199905 |
CABLE, LOCK SET,
SEAT |
1 |
|
| 21 |
GA556SC01 |
BOLT, FLANGE
M6X1.0X12L |
2 |
|
| 22 |
BH102FE01 |
SLEEVE, HANGER |
1 |
|
| 23 |
411972 |
RUBBER CAP |
1 |
615151→ |
|
|
|
|
|
|
|
|
|
|
|
| 01 |
BH1200001 |
STAND COMP., MAIN |
1 |
|
| 02 |
GA551RB05 |
CUSHION |
1 |
|
| 03 |
GA551SP02 |
SPRING 16X114X2.8 |
1 |
|
| 04 |
GA551SP04 |
SPRING 9X107X1.4 |
1 |
|
| 05 |
GA551NT03 |
NUT |
1 |
|
| 06 |
GA551PN03 |
SHAFT, MAIN STAND |
1 |
|
| 07 |
W99806 |
WASHER 8.5X16X2 |
1 |
|
| 08 |
GA551PN04 |
PIN, COTTER |
1 |
|
| 09 |
GA551SC04 |
BOLT |
1 |
|
| 10 |
BH1209902 |
STAND COMP., SIDE |
1 |
|
| 10-1 |
GA551SC10 |
SCREW, HEX. HEAD
M8X39 |
1 |
|
| 10-2 |
GA551NT04 |
NUT, HEX. HEAD M8 |
1 |
|
| 10-3 |
GA551SP06 |
SPRING, SIDE
STAND 14X75X2 |
1 |
|
| 10-4 |
GA551SP07 |
SPRING, SIDE
STAND |
1 |
|
| 10-5 |
GA551PS54 |
BRKT, SIDE STAND
SPRING |
1 |
|
|
|
|
|
|
| 22. FUEL TANK
(MATERIAL: HDPE) |
|
|
|
|
|
| 01 |
401814 |
TANK, FUEL |
1 |
|
| 02 |
GA555SC05 |
BOLT, OUTLET
M6X1.0X16L |
4 |
|
| 03 |
401813 |
GAUGE ASSY., FUEL
LEVEL |
1 |
|
| 03-1 |
401628 |
GASKET |
1 |
|
| 04 |
GA5539902 |
COCK ASSY., FUEL |
1 |
|
| 05 |
401014 |
SPRING 12X100X0.8 |
1 |
|
| 06 |
GA5539904 |
FILTER, FUEL |
1 |
|
| 07 |
412130 |
HOSE |
1 |
|
| 08 |
412108 |
HOSE, NEGATIVE
PRESSURE LOWER #7 |
1 |
|
| 09 |
401012 |
HOSE |
1 |
|
| 10 |
BH121PP01 |
HOSE, NEGATIVE
PRESSURE |
1 |
|
| 11 |
GA553SR04 |
CLIP∮7.5 |
1 |
|
| 12 |
S07501 |
BOLT,HEX HEAD |
4 |
|
| 13 |
R36901 |
CLIP |
2 |
|
| 14 |
R36801 |
CLIP ∮8.5 |
7 |
|
| 15 |
412113 |
HOSE |
1 |
|
| 16 |
GA553SC01 |
BOLT, FLANGE
M6X1.0X16L |
1 |
|
|
|
|
|
|
|
|
|
|
|
|
| 01 |
401614 |
TANK, OIL COMP. |
1 |
|
| 01-1 |
BH122PL01 |
TANK, OIL |
1 |
|
| 01-2 |
BH1229901 |
SWITCH ASSY., OIL
LEVEL |
1 |
|
| 02 |
GA556SC01 |
BOLT, FLANGE
M6X1.0X12L |
2 |
|
| 03 |
BH122RB01 |
CAP, OIL TANK |
1 |
|
| 04 |
401021 |
FUNNEL |
1 |
|
| 05 |
425034 |
CLEANER COMP.,
OIL |
1 |
←621749 |
| 05-1 |
425031 |
HOSE |
1 |
←621749 |
| 05-1A |
425053 |
HOSE |
1 |
621750→ |
| 05-2 |
425005 |
CLEANER ASSY.,
OIL |
1 |
|
| 05-3 |
412107 |
HOSE, FUEL |
1 |
|
| 05-4 |
R36801 |
CLIP ∮8.5 |
3 |
|
| 05-5 |
R50901 |
CLIP ∮9.5 |
1 |
|
| 05A |
425052 |
CLEANER COMP.,
OIL |
1 |
621750→ |
|
|
|
|
|
|
|
|
|
|
|
| 01 |
452015 |
HELMET CASE |
1 |
|
| 02 |
GA551SC09 |
BOLT, FLANGE
M6X20 |
4 |
|
| 03 |
452029 |
SEAT SET |
1 |
|
| 03-1 |
401904 |
DAMPER, RUBBER |
2 |
|
| 04 |
BH123FE01 |
BRKT, SEAT |
1 |
|
| 05 |
S47601 |
SCREW, RECESSED
PAN HEAD M6X68 |
1 |
|
| 06 |
GA554NT04 |
NUT,
FLANGE M6xP1.0 |
2 |
|
| 07 |
GA5049915 |
PACKAGE, TOOL |
1 |
|
| 08 |
GA556WS02 |
WASHER |
4 |
|
|
|
|
|
|
|
|
|
|
|
|
| 01 |
BH124PL01A |
COVER, SIDE |
1 |
|
| 01-1 |
452035 |
BRKT |
8 |
|
| 02 |
BH124PL04 |
COVER, SMALL |
1 |
|
| 03 |
BH124FE01 |
BRKT, SEAT |
2 |
|
| 04 |
BH1249901 |
CARRIER, TAIL |
1 |
|
| 05 |
BH124PL03 |
COVER, TAIL LAMP |
1 |
|
| 06 |
S70613 |
BOLT, HEX. HEAD
M6X50 |
2 |
|
| 07 |
S70804 |
BOLT,HEX HEAD
M8X50 |
2 |
|
| 08 |
S57501 |
SCREW,OVAL HEAD,
FLANGE M5X14 |
2 |
|
| 09 |
S07501 |
BOLT,HEX HEAD |
2 |
|
| 10 |
S51501 |
SCREW,TAPPING
M5X16 |
5 |
|
| 11 |
N31501 |
NUT, SPRING M5 |
3 |
|
| 12 |
S24617 |
BOLT, FLANGE
M6X14 |
2 |
|
| 13 |
S50501 |
SCREW, OVAL HEAD
M5X12L |
2 |
|
| 14 |
GA552WS05 |
WASHER |
2 |
|
| 15 |
401658 |
BUSH |
1 |
|
| 16 |
401657 |
REED |
1 |
|
| 17 |
GA555WS02 |
WASHER |
2 |
|
| 18 |
W99810 |
WASHER |
2 |
|
| 19 |
453011A |
BOTTOM PLATE,
FUEL TANK |
1 |
|
| 20 |
452020 |
SPLASH APRON |
1 |
|
| 21 |
GA552SC11 |
SCREW, TAPPING
M4X16 |
8 |
|
|
|
|
|
|
| 26. FRONT LEG
SHIELD |
|
|
|
|
|
| 01 |
BH125PL02 |
COVER, LEG SHIELD |
1 |
←614424 |
| 01A |
BH125PL02A |
COVER, LEG SHIELD |
1 |
614425→ |
| 02 |
S57501 |
SCREW,OVAL HEAD,
FLANGE M5X14 |
15 |
|
| 03 |
W99602 |
WASHER 6.5X12X1.0 |
3 |
|
| 04 |
GA904SC26 |
SCREW, SOCKET
HEAD M6X16 |
3 |
|
| 05 |
BH125PL04 |
COVER SET, LEG
SHIELD, SMALL |
1 |
|
| 06 |
BH125PL01 |
LEG SHIELD FRONT |
1 |
|
| 07 |
N31501 |
NUT, SPRING M5 |
5 |
|
| 08 |
BH125AL01 |
CAP, RUBBER |
3 |
|
| 09 |
S72602 |
BOLT, HEX. HEAD |
3 |
|
| 10 |
BH125FE01 |
BUMPER, PROTECTOR |
1 |
|
| 11 |
GI525RB03 |
CAP, RUBBER |
2 |
|
| 12 |
450050 |
COVER, LAMP |
1 |
|
| 13 |
BH125PL03 |
FRONT FENDER,
INNER |
1 |
|
|
|
|
|
|
| 27. REAR LEG
SHIELD |
|
|
|
|
|
| 01 |
BH126PL01 |
LEG SHIELD, SIDE, LH. |
1 |
|
| 02 |
BH126PL02 |
LEG SHIELD, SIDE,
RH. |
1 |
|
| 03 |
401860 |
LEG SHIELD, LOWER |
1 |
|
| 04 |
BH126PL04 |
LEG SHIELD, RAER |
1 |
|
| 05 |
BH126RB01 |
CUSHION, LEG
SHIELD |
1 |
|
| 06 |
N31501 |
NUT, SPRING M5 |
6 |
|
| 07 |
GA551SC09 |
BOLT, FLANGE
M6X20 |
4 |
|
| 08 |
BH126PL05 |
LID, BATTERY BOX |
1 |
|
| 09 |
S57501 |
SCREW,OVAL HEAD,
FLANGE M5X14 |
7 |
|
| 10 |
S51501 |
SCREW,TAPPING
M5X16 |
2 |
|
| 11 |
GA904SC26 |
SCREW, SOCKET
HEAD M6X16 |
2 |
|
| 12 |
GA556WS02 |
WASHER |
4 |
|
|
|
|
|
|
|
|
|
|
|
|
| 01 |
412720 |
FORK COMP., FRONT |
1 |
|
| 01-1 |
414009 |
RACE, STEERING,
INNER, LOWER |
1 |
|
| 01-2 |
401673 |
CENTREL BAR ASSY. |
1 |
|
| 01-3 |
401671 |
FORK COMP.,
FRONT LH. |
1 |
|
| 01-4 |
401672 |
FORK COMP.,
FRONT RH. |
1 |
|
| 01-5 |
GI527SC01 |
NUT, HEX. HEAD |
2 |
|
| 01-6 |
S20002 |
BOLT,FLANGE M10X1.25 |
2 |
|
| 01-7 |
GI527OS01 |
OIL SEAL |
2 |
|
| 02 |
BH127PS01 |
WASHER |
1 |
|
| 03 |
413986 |
RACE SET,
STEERING |
1 |
|
| 04 |
BH127FE01 |
BALL |
44 |
|
| 05 |
N50501 |
NUT, SLOTTED |
2 |
|
| 07 |
GA556SC01 |
BOLT, FLANGE
M6X1.0X12L |
2 |
|
| 08 |
GI527PS02 |
BRKT, CABLE,
SPEEDOMETER |
1 |
|
| 09 |
BH1279901 |
BRKT, BRAKE HOSE |
1 |
|
| 10 |
W99533 |
WASHER |
1 |
|
| 11 |
412715 |
REFLECTOR ASSY.,
SIDE |
2 |
|
|
|
|
|
|
| 29. FRONT
FENDER |
|
|
|
|
|
| 01 |
BH128PL01 |
FRONT FENDER |
1 |
|
| 02 |
GA556SC01 |
BOLT, FLANGE
M6X1.0X12L |
3 |
|
|
|
|
|
|
|
|
|
|
|
|
| 01 |
GF5299901 |
INLET COMP., AIR |
1 |
|
| 02 |
412942-S |
TIRE 120/90-10 |
1 |
|
| 03 |
GI529BR01YT |
BEARING 12X32X10 |
2 |
|
| 04 |
N25201 |
NUT, SELFLOCK
M12X1.25 |
1 |
|
| 05 |
GI529BS01 |
COLLAR |
1 |
|
| 06 |
GI5299902 |
COLLAR SET FOR
RIM COMP., FRONT WHEEL 3.5-12 |
1 |
|
| 07 |
GI5299901 |
GEAR COMP.,
SPEEDOMETER |
1 |
|
| 08 |
GI529FE01 |
SHAFT, FRONT
WHEEL 12X218 |
1 |
|
| 09 |
GI529OS01 |
OIL SEAL 18X35X7 |
1 |
|
| 10 |
410161Y |
DISC, BRAKE 190mm |
1 |
|
| 11 |
GA551NT01 |
NUT, SELFLOCK
M10X1.0 |
3 |
|
| 12 |
401678 |
RIM COMP., FRONT
WHEEL 3.5X10 |
1 |
|
| 13 |
S72001 |
SCREW, SOCKET |
3 |
|
|
|
|
|
|
| 31. HANDLE BAR |
|
|
|
|
|
| 01 |
BH1309903 |
HANDLE BAR ASSY. |
1 |
|
| 02 |
GA557SC01 |
BOLT, FLANGE
M10X43 |
1 |
|
| 03 |
GA551NT01 |
NUT, SELFLOCK
M10X1.0 |
1 |
|
| 04 |
GF530RB02 |
GRIP, LH. |
1 |
|
| 05 |
413032 |
GRIP ASSY., RH. |
1 |
|
| 06 |
413055 |
CABLE, REAR BRAKE |
1 |
|
| 07 |
401702 |
BRKT, SET REAR
BRAKE (REAR) |
1 |
|
| 08 |
413912 |
SEAL |
1 |
|
| 09 |
GF530SP01 |
SPRING 7X110X1.0 |
1 |
|
| 10 |
GI530PN01 |
PIN,
STOP∮12X22 |
1 |
|
| 11 |
GI530NT01 |
NUT, ADJUSTING
M6X16 |
1 |
|
| 12 |
BH1309906 |
CABLE, THROTTLE |
1 |
←621749 |
| 12A |
413067 |
CABLE,
THROTTLE(VM 13) |
1 |
621750→ |
| 13 |
GA557SC12 |
SCREW, PAN HEAD
M5X10 |
1 |
|
| 14 |
GA557SC02 |
SCREW, FLAT HEAD
M8X35 |
1 |
|
| 15 |
GE5300001 |
MIRROR, REAR VIEW
ASSY. |
1 |
|
| 15-1 |
GE5309905 |
MIRROR, REAR
VIEW, LH. |
1 |
|
| 15-2 |
GE5309904 |
MIRROR, REAR
VIEW, RH. |
1 |
|
| 16 |
GI5309907 |
BRKT, SET REAR
BRAKE CABKE(MIDDLE) |
1 |
|
| 17 |
GA501SR01 |
CLAMP |
1 |
|
|
|
|
|
|
| 32. HANDLE BAR
COVER |
|
|
|
|
|
| 01 |
BH131PL01 |
COVER, HANDLE BAR, UPPER |
1 |
|
| 02 |
BH131PL02 |
COVER, HANDLE
BAR, UNDER |
1 |
|
| 03 |
N10501 |
NUT |
2 |
|
| 04 |
S57501 |
SCREW,OVAL HEAD,
FLANGE M5X14 |
2 |
|
| 05 |
GA552SC11 |
SCREW, TAPPING
M4X16 |
4 |
|
| 06 |
GA552WS05 |
WASHER |
1 |
|
| 07 |
S46504 |
SCRWE, PAN HEAD
M5X16 |
1 |
|
| 08 |
457107 |
BRACKET LH. |
1 |
|
| 09 |
457108 |
BRACKET RH. |
1 |
|
| 10 |
GA510SC10 |
SCREW, HEX. HEAD
M5X20 |
2 |
|
|
|
|
|
|
|
|
|
|
|
|
| 01 |
413203 |
SWITCH ASSY., HANDLE, LH. |
1 |
|
| 02 |
413217 |
SWITCH ASSY.,
HANDLE, RH. |
1 |
|
| 03 |
413201 |
LEVER ASSY.,
HANDLE BAR, LH. |
1 |
|
| 03-1 |
413210 |
LEVER, HANDLE
BAR, LH. |
1 |
|
| 03-2 |
S47503 |
SCREW, CROSS
RECESSED, PAN HEAD M5 |
1 |
|
| 03-3 |
N20501 |
NUT, SELFLOCK M5 |
1 |
|
| 04 |
413911 |
WASHER |
1 |
|
|
|
|
|
|
| 34. REAR FENDER |
|
|
|
|
|
| 01 |
401834 |
FENDER, REAR, UPPER |
1 |
|
| 02 |
453030 |
REFLECTOR, REAR |
2 |
|
| 03 |
GA554NT04 |
NUT,
FLANGE M6xP1.0 |
2 |
|
| 04 |
GA510SC03 |
SCREW, HEX. HEAD
M6X16 |
2 |
|
| 05 |
GA555WS02 |
WASHER |
2 |
|
| 06 |
GA552NT05 |
NUT, FLANGE M5 |
1 |
|
| 07 |
W10501 |
SPRING WASHER |
1 |
|
| 08 |
GA552WS05 |
WASHER |
1 |
|
| 09 |
458015 |
REFLECTOR ASSY.,
REAR |
1 |
|
| 10 |
413305 |
ABSORBER ASSY.,
SHOCK, REAR |
1 |
|
| 11 |
GA556WS06 |
WASHER,
SPRING 10.2X3.7X2.5t |
2 |
|
| 12 |
GA556SC03 |
BOLT, HEX. HEAD
M10X1.25X40L |
1 |
|
| 13 |
GA556SC04 |
BOLT, HEX. HEAD
10X34 |
1 |
|
| 14 |
458004 |
SPLASH BOARD |
1 |
|
| 15 |
GA556WS02 |
WASHER |
2 |
|
| 16 |
S70609 |
SCREW, SOCKET
HEAD M6x16 |
2 |
|
| 17 |
S50506 |
SCREW, TAPPING |
1 |
|
|
|
|
|
|
|
|
|
|
|
|
| 01 |
412942-S |
TIRE 120/90-10 |
1 |
|
| 02 |
GF5299901 |
INLET COMP., AIR |
1 |
|
| 03 |
GE5340002 |
RIM COMP., REAR
3.5-10 |
1 |
|
| 03-4 |
401640 |
HUB, REAR WHEEL |
1 |
|
| 04 |
GA558NT03 |
NUT, SELFLOCK
M16X14 |
1 |
|
| 05 |
GA558WS01 |
WASHER |
1 |
|
|
|
|
|
|
| 36. BRAKE
CALIPER, MASTER CYLINDER |
|
|
|
|
|
| 01 |
401851 |
CALIPER |
1 |
|
| 01-1 |
GA559RB01 |
CAP, GUARD |
1 |
|
| 01-2 |
GF5359902 |
PAD ASSY. |
1 |
|
| 01-3 |
GA559SC01 |
BOLT, FLANGE |
1 |
|
| 02 |
GA558SC03 |
BOLT, HEX. HEAD |
2 |
|
| 03 |
GF5360001 |
MASTER CYLINDER |
1 |
|
| 03-1 |
GF5369902 |
LIMITED SWITCH
ASSY., FRONT BRAKE LAMP, RH. |
1 |
|
| 03-2 |
401020 |
LEVER, HANDLE BAR |
1 |
|
| 03-3 |
S46501 |
SCREW 6X30 |
1 |
|
| 03-4 |
N25401 |
NUT M14 |
1 |
|
| 03-5 |
GF536AL01 |
CAP,
MASTER CYLINDER |
1 |
|
| 03-6 |
GF536RB01 |
DIAPHRAM |
1 |
|
| 04 |
BH1369901 |
HOSE ASSY., FRONT
BRAKE |
1 |
|
| 04-1 |
S21001 |
OIL BOLT
M10X1.25X22L |
2 |
|
| 04-2 |
GA559WS04 |
WASHER,
10.2X15X1.2t |
4 |
|
| 05 |
W99805 |
WASHER |
2 |
|
| 06 |
GA510SR01 |
CLAMP |
1 |
|
|
|
|
|
|
|
|
|
|
|
|
| 01 |
GF523TH05 |
LABEL, LUGGAGE BOX |
1 |
|
| 02 |
459208 |
LABEL, WARNING |
1 |
|
|
|
|
|
|